Vibratory Steam Engines.

Updated: 11 Jan 2008

.

Back to Home PageBack to the Museum

The Elijah Galloway Vibrating Marine Engine
The Cambrian Engine System
Locomotive Vibratory Engines
Ericsson's Vibrating Marine Engine
The Bates Compound Vibrating Engine
The Link Engine
An Anonymous Engine
Parson's Engine ANIMATED Updated
Roots Double-Quadrant Engine

Vibratory engines have oscillating pistons in cylinders of peculiar design. These machines appear to combine the disadvantages of both rotary and reciprocating engines, and it is not surprising that they were not only unsuccessful, but have sunk into the deepest obscurity. Here they are unearthed.

Since the time of the engines displayed here, the word "vibrate" has shifted in meaning. Then, it was roughly equivalent to "oscillatory", and did not have the modern connotation of a high-frequency small-amplitude movement that is usually (but not always)unwelcome.

The vibratory engine may have vane pistons very like those of a rotary engine, but they oscillate back and forth rather than turning steadily. A connecting rod and crank will therefore be required to get rotary motion, with all the disadvantages of reciprocating masses that need balancing. The sealing problems are at least as severe as for the rotary engines.


THE ELIJAH GALLOWAY VIBRATING MARINE ENGINE: 1829

Left: A Model of The Elijah Galloway Vibrating Marine Engine.

This is the Elijah Galloway who designed at least two rotary steam engines; see the Elijah Galloway engine of 1840, and the Elijah Galloway engine of 1846

The cylinder contains a vane which oscillates through 270 degrees. The valvegear is not modelled, but was intended to be on top of the cylinder, and actuated by an eccentric on the main shaft.

The design of this engine was described in Galloway's patent of 1829. I have so far found nothing to indicate that it was actually built at full scale and tried out.

Model in The Science Museum, London. Scale 1:8. Author's photograph.

Left: The other side of the Model.

The sliding link and connecting-rod convert the oscillation of the cylinder crank into continuous rotation of the output shaft above the cylinder.

In the best traditions of the Science Museum, the model works very nicely when you press a little brass button.

Model in The Science Museum, London. Scale 1:8. Author's photograph.


THE CAMBRIAN STEAM ENGINE: 1841.

It has taken a long time, but I have finally tracked down the "Cambrian System" referred to below. It was introduced by Mr John Jones, of the firm of Aspinall, Jones & Co, an engineering company in Smethwick. He was granted a patent on the 7th of April, 1841.

Source: Mechanics' Magazine for 2 July, 1842

Left: A Cambrian engine

The vibratory pistons are inside the drum on the left. The arm marked k drives the valves from an eccentric on the crankshaft.

Left: Vertical Section through Cambrian engine

The vibratory "pistons" or rather vanes are the horizontal structures across the middle of the drum. The valve v oscillates to control steam admission through the pipe on the left and exhaust through the pipe on the right.

The cross-connecting passages w and w' allow the steam to press on the top surface of one vane while also pressing on the bottom surface of the opposite vane, being roughly equivalent to two double-acting cylinders in a conventional engine. The central shaft passed through stuffing boxes on each side of the drum.

The triangular abutment marked o has a seal pressing against the central shaft, with an adjusting screw to take up wear, like many rotary engine engines; the sealing problems are much the same.

Left: Horizontal Section through Cambrian engine

The pistons or vanes are marked g. They seem to be drawn with a grossly excessive clearance from the sides of the drum.

Left: Vertical Section through a three-vane Cambrian engine

Mr John Jones included in his patent the possibilty of making similiar engines with three or four vanes, presumably with the intention of increasing the power density of the machine, ie, how much power you can get from a given volume of machinery. Since adding vanes would appear to reduce the possibilities of expansion, it is doubtful if this was really a good idea. Note the three steam spaces marked g.

Now there are three screws to adjust the sealing pieces.


LOCOMOTIVE VIBRATORY ENGINES: 1841.

Left: A rare attempt to apply a rotary steam engine to a railway locomotive.

This is a demonstration model of an 0-4-0 patented by J. Jones, Bristol, England, in 1841. It uses the "Cambrian drive system" described above. All that is known about the actual engine is that it had "a rotary vane inside the cylinder". The model is in the Rahmi M Koc (?) museum in Istanbul, Turkey.

The Mechanics' Magazine said:
"For locomotive purposes it offers the great advantage of a direct transmission of the steam power from the piston shaft to the crank or axle of the driving wheel, by means of a single rod without couplings, and with a much less angle of connexion than is common with the engines now in use."
Which makes very little sense to me, unless it is a reference to the old fallacy that power was somehow wasted if the connecting rod and crank were not at right angles.

Left: A development of the Jones design?

This is the "Albion", an 0-4-2 built by Thwaites Bros of Bradford in 1848, for the South Yorkshire Railway. It is supposed to have run there for some 15 years, which would seem to indicate it was successful, though I do wonder if it might have been converted to a conventional layout during that time.

The transverse cylinder was fitted with "vibrating vane pistons" which oscillated the central shaft. There appears to be conventional Stephenson valvegear just to the left of the central shaft. (arrowed)

According to a Mr H Crossley, who appears to have part-owned the intellectual property of the Cambrian system, it "...has, by its invariable performances during the last two years and a half, given the utmost satisfaction." (From Mechanics Magazine Saturday June 1st, 1844)
It is possible, of course, that he was not completely impartial in the matter.

This locomotive was one of those featured in a well-known article "Curiosities of Locomotive Design" which was part of "The Development of the Locomotive Engine", by Angus Sinclair, in Railway and Locomotive Engineering for September-December, 1907.
It seems very likely that this engine was built under the Cambrian patent, but so far this is unconfirmed.


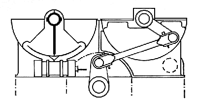
THE VIBRATING MARINE ENGINE OF JOHN ERICSSON: 1843

This remarkable marine engine was the creation of the Swedish engineer John Ericsson, and was fitted in the American steamer USS Princeton, the USA's first screw-driven steam warship, and the world’s first screw steam warship with its boilers and engines entirely below the waterline for protection from enemy fire; hence the low profile of this engine. The 164-ft vessel of 954 tons (700 tons in another account) displacement was ship-rigged.

John Ericsson is better known for producing the USS Monitor, an early ironclad which fought a famous if inconclusive battle with the ironclad CSS Virginia of the Confederate States Navy, during the American Civil War, and also for the Ericsson caloric ship which was powered by enormous hot-air engines.

The engine was variously called a “vibrating piston,” “vibrating pendulum” or “semi-cylinder” type. The idea was actually not new; it was anticipated by Elijah Galloway's patent of 1829, described above. It drove a six-bladed screw of 14-ft diameter. Cautious guesstimation suggests it developed 250 ihp, giving the Princeton a speed of 7 knots.

Left: Ericsson's Vibrating Engine: end view.

The left cylinder is sectioned to show the oscillating vane and the steam ports. Note the small packing piece bearing on the top of the piston shaft. The angularity of the two connecting rods prevented dead-centre problems.

The valve chest can be seen below the left cylinder; the valves were driven by eccentrics on the rotating crankshaft.

From Bizarre Ships of the Nineteenth Century, by John Guthrie. Pub Hutchinson 1970.

Small cranks at the aft end of each cylinder worked a condenser air pump and the usual water pumps for boiler feed etc.

Left: Ericsson's Vibrating Engine: plan view. Aft is at the top.

The engine was constructed in 1841 by Merrick and Towne from Ericsson's designs. Apparently it muh impressed the engineers of the time, and when the Princeton's hull was worn out (after only seven years, which is rather strange) the engine was fitted into a new hull. However, no other such engine was built, so there must have been a snag somewhere. From examining the troubled history of rotary steam engines, it would seem certain that this topology would have sealing problems, needing packing that either caused excessive friction or allowed too much steam leakage, and required frequent adjustment.

From Bizarre Ships of the Nineteenth Century, by John Guthrie. Pub Hutchinson 1970.

The Princeton was commissioned on the 9th September 1843. She arrived at Washington DC on 13th February 1844. She was armed with two massive 12-inch muzzle loaders, one of them called "Peacemaker" and of defective design. On a pleasure and trial trip down the Potomac she carried President John Tyler, his Cabinet and some two hundred guests on board. On test-firing the Peacemaker, the defective gun burst. It instantly killed Secretary Upshur; Secretary Gilmer; Captain Beverly Kennon, Chief of the Bureau of Construction; Virgil Maxcy of Maryland, Charge d'Affaires to Belgium; and the President's valet, a black slave named Armistead. It also injured about 20 other people.
After this debacle, the Princeton was employed with the Home Squadron from 1845 to 1847, doing duty in the Gulf of Mexico and even on the California coast during the Mexican War. Sent next to the Mediterranean Station, she was surveyed and condemned because of rot and was broken up upon her return in 1849.

There is a Wikipaedia article that gives more details of the Princeton's career, but it says very little about the unique engines.


BATES COMPOUND VIBRATING ENGINE

Left: Bates Compound Vibrating Engine.

"The upper section of the cylinder has a shorter radius than the lower section for the compound effect. The shaft and wings are concentric and vibrate between two stationary abutments, 10, 10. Opposite each abutment is a cylindrical valve, which by its motion admits the steam to the upper section, and transfers its exhaust to the lower section, and also the final exhaust."

The oscillating "pistons" are 13 and 14. The steam is distributed by two valves 5 at each end; presumably these also oscillated. Steam enters at the top and exhausts through the bottom pipe.

From "Mechanical Movements, Devices and Appliances" by Gardner D Hiscox, published by Sampson Low, Marston & Co in 1899.


Left: Link Vibratory Engine.

"A pair of curved cylinders with an annular piston rod to which is attached the arms from the central shaft. The reciprocal motion of the piston rocks the central shaft, the motion of which is made continuous by a link and crank, not shown."

Or in other words, it is a conventional reciprocating engine made much more difficult by using curved cylinders, for no obvious reason.

From "Mechanical Movements, Devices and Appliances"


Left: Oscillating Piston Engine. (Inventor unknown)

"A crank and connecting rod outside the engine convert the oscillating motion of the piston into rotary motion."

But just what is the point? All the sealing problems of a rotary engine, but none of the advantages.

From "Mechanical Movements, Devices and Appliances"


Left: A Vibrating Piston engine; Parson's Model. (1)

"Two sector pistons vibrating in a cylinder. One sector is fast on a central solid shaft, the other is fast on a concentric hollow shaft. At the other end of each shaft is a crank and link connection to a wrist pin at opposite positions on a face plate which is fast on a revolving shaft eccentric to the piston shafts. The exhaust port is in the circumference of the cylinder."

Could this be Charles Parsons as in steam turbine? I have found fragmentary evidence that he attempted a rotary engine before he took up turbines. I have also found the bare statements that "his interest in high-speed engines had already been aroused through the designing of epicycloidal engines at Elswick and Leeds" in his early career. And, while at Elswick, "he refined and developed his ideas regarding an ‘epicycloidal’ engine, which he had first thought of at Cambridge. Forty of his engines were manufactured by the Kitson's Company of Leeds in Yorkshire."
Kitson's was the engineering company involved in the Kitson-Still Steam-Diesel Locomotive. These are deep waters, Watson.

But not wholly unnavigable to the persistent. I have now found information on The Parsons Epicycloidal Engine. It is not the vibrating piston engine shown here, but is an interesting hybrid of rotary and radial principles. There is quite a lot of information so I have given it a separate page. It looks as if Parsons tried at least two unconventional piston engines before applying himself to steam turbines. Or is this engine the brainchild of another Parsons? Charles had a brother, Richard Clere Parsons, who was aso involved with engineering, being on the staff of Easton & Anderson of Erith. Perhaps it was him?

Left: A Vibrating Piston engine; Parson's Model. (2)

It is not clear if the original images of this engine are photographs or pen-&-wash drawings. If they are photographs, then this engine is one of the very few so recorded. Hence it is given more space here.

This engine is a classic exposition of the "pursuing-piston" concept, where two rotors go round with one at least at a varying speed, so as to form spaces that expand and contract. Whether it should be classified as a rotary or a vibrating-piston engine is an interesting point; however I for one plan to lose no sleep over the question. It stays here for the time being.

Left: A Vibrating Piston engine; Parson's Model. (3)

Showing the principle of operation.

The sealing problems of this engine are potentially much easier to solve than those of other vibratory and rotary engines; this is because of the large area of piston contacting the inner surface of the cylinder, as opposed to a line contact.

Left: A Vibrating Piston engine; Parson's Model. (4)

A Bill Todd animation shows the principle of operation; the speed variation of the sectors is produced because the two shafts are offset from each other.

This animation is kindly provided by Bill Todd

Left: A Vibrating Piston engine; Parson's Model. (5)

From another angle, and showing the casing.

This animation is kindly provided by Bill Todd


Left: Roots Double Quadrant Engine.

"In this design the two oscillating pistons are connected directly with the crank on the inside of the engine case, which is also the exhaust receiver. From the positions of the connecting rods at the end of the stroke of each piston the dead centre is eliminated."

The steam inlet valve is at a. Could this be the same person who came up with the Roots blower?

Back to Home PageBack to The Museum EntranceBack to The Rotary Steam Engine WingTop of this page