Internal Combustion Boilers
|
What, I hear you cry, is an internal combustion boiler? It is a boiler in which the flame does not impinge on water tubes, or sidle through fire tubes, but burns actually in the water. It can, if Oscar Brunler is to believed, be done. It obviously requires a powerful air compressor to force the air into the boiler against the steam pressure. The gaseous products of combustion then mix with the steam and form a mixture that drives the engine.
THE SEIDLER INTERNAL COMBUSTION BOILER: 1923
This internal combustion boiler was put forward by Alexander Seidler. It was intended to be oil-fired. It appears that the flame was meant to impinge on the surface of the water rather than actually burn in it.
From US patent 1478067, which makes no mention of the problems likely from the formation of nitric acid, as encountered by Oscar Brunler. The date of 1923 is when the patent was actually granted; it was filed in 1918.
THE BRUNLER INTERNAL COMBUSTION BOILER: 1927
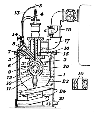
This shows the oil-fired steam generator, which was 3ft in diameter and 4ft 8in high. It was claimed it could produce a maximum of 11,000 lb of steam/gas per hour, at 175 psi, and that the whole boiler plant was rated at 500 HP.
At start-up the water level was lowered below the bottom of the burner so a pilot flame could be lit with a blow-lamp. After a few minutes the main burner was hot enough to vapourise the oil, and the main flame impinged on the surface of the water. A valve was then opened to raise the water level so the flame was burning entirely submerged in water.
The information on the Brunler Boiler all comes from a paper read before the Society of Engineers in Britain in 1927. Not a lot of information is given about the hardware, and the meeting appears to have been somewhat distracted by Oscar Brunler's claim that his boiler was 'at least' 98% efficient, and capable of more than 100% under some conditions. He attributed the extra heat that apparently came from nowhere to radioactive disintegration, quoting Rutherford in a stream of wibble that regrettably takes up most of the paper. The audience, which included Sir Henry Fowler and Mr H Holcroft, gave this nonsense an easier ride than it deserved. Mr Norman Swindon "wished Mr Brunler would drop the phrase 100%, and over 100% efficiency. From a psychological point of view it was bad.". He went on to theorise that the mysterious 'extra heat' came from Brunler's use of inefficient air compressors.
This shows the complete Brunler boiler plant, with a steam generator just to the left of the big steam reservoir. There is another steam generator directly in front of it.
The plant was barely described at all in the paper, but a few things can be deduced. The fuel oil tank is at top left, apparently filled by a hand-pump at extreme left. At extreme right there is what appears to be the air compressor, in the form of a reciprocating pump. I was expecting a centrifugal compressor driven by a steam turbine; perhaps this is what Mr Norman Swindon meant by inefficient compression. At this point I start to wonder how you started it up from cold- presumably there was some alternative drive to the compressor?
There is a snag. (what, only one?) When a flame burns in water under pressure, nitric acid and nitric oxides are produced. You therefore have the alluring prospect of pumping nitric acid through your steam engine, which is unlikely to do it any good. Brunler said this had been a problem 'for nearly twenty years' but claimed that it had been solved by adding lime to the feedwater, so that calcium nitrate was produced instead.
Updateded: 27 Sept 2008


Left: The Seidler Internal Combustion Boiler: 1927

Left: The Brunler Internal Combustion Boiler: 1927
From Transactions of the Society of Engineers for 1927, p73. (Great Britain)

Left: The Brunler Internal Combustion Boiler: 1927
From Transactions of the Society of Engineers for 1927, p73. (Great Britain)
![]() ![]()
|