The Rey Paper Tape Recorder

Gallery opened 13 Apr 2022

Updated: 9 May 2022

Playback patent diagram added

Audio on paper tape

Back to Home PageBack to The Museum

This recording system is so obscure that only one reference to it has been found so far; Google reveals nothing else. There are however several US patents, that reveal the inventor's full name was Mr Secundino Rey.

Note that the Photoliptophone also came from Argentina, which is intriguing.

Left: Wartime Technological Developments: 1944

And that's all she wrote.

The text does not give any real idea of how it worked; how does cutting into a thin film of ink transfer it to the paper tape? What is being modulated, the width of the ink on the tape?

Source: Wartime Technological Developments: Supplement for 1944: a Study By United States Congress Senate Committee on Military Affairs. Subcommittee on War Mobilization

The original is here. Just before it is a report on a system that cut a groove into movie film; this does not appear to be the Fonda recorder, which used cellophane as a medium, but it is hard to be sure.

Left: The Rey patent; recording: 1944

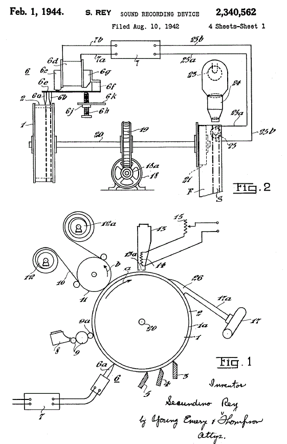
Fig 1: The rotating disc (more of a narrow drum) is coated with some material such as paraffin wax. The audio waveform is indented into it in a hill-and-dale fashion by the electrically driven cutter at 6. Ink is applied to this from reservoir 8 by ink rollers 9,9a. The paper tape 10 is pressed against the disc by roller 11 and the ink transferred to the tape, in an amount modulated by the indented paraffin wax, so the audio is marked on the tape.

As the disc rotates further, the wax is melted by heater 13, 14 to remove the indentations, then cooled by the blower 17. The scrapers 3,4,5 render the surface of the wax flat ready for the next pass under the recording head. It is very hard to envisage this as anything like a linear process, and the distortion was probably shocking, if the process could be made to work at all. The absence of Google references suggest a workable prototype may never have been made.

Fig 2: This shows the audio from a conventional film being copied to paper tape. At right the film sound track is read by a light source and a photocell 25. The audio signal goes to amplifier 7, which drives the wax cutter 6 at left.

Source: US patent 2,340,562 of 1 Feb 1944. Many thanks to Paul Dunlop for finding this patent.

Left: The Rey patent; playback: 1944

23 is a light source, and 24 an optical system that focuses the light onto the tape. The reflected light falls on a photocell 25.

Source: US patent 2,340,562 of 1 Feb 1944.

If anyone knows any more about the Rey system I would be very glad to hear from them.

Back to Home PageBack to The Museum EntranceTop of this page